Μια νέα πατέντα που κατοχύρωσε πρόσφατα η Google αφήνει πολλά ερωτηματικά για το πώς σκοπεύει να την χρησιμοποιήσει στο μέλλον η εταιρεία.
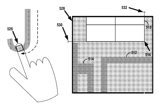
Η πατέντα αναφέρεται στην χρήση γαντιών, τα οποία θα περιλαμβάνουν δυο αισθητήρων ικανοί να καταγράφουν «εικόνες» ενός περιβάλλοντος και να αναγνωρίζουν χειρονομίες βασισμένες την κίνηση μεταξύ των εικόνων. Μια εικόνα που δόθηκε στην δημοσιότητα δείχνει ένα χέρι να σχηματίζει το γράμμα «J» κάτι που σημαίνει πως η τεχνολογία αυτή θα μπορούσε να χρησιμοποιηθεί για εισαγωγή κειμένου.
Πουθενά μέσα στην πατέντα δεν αναφέρεται η χρήση του Project Glass, αλλά είναι εξίσου πιθανό η νέα αυτή τεχνολογία να δίνει την δυνατότητα στους χρήστες να ελέγχουν συσκευές απλά κουνώντας τα χέρια τους μπροστά στα μάτια τους. Κάτι σαν το αντίστοιχο project της Leap Motion δηλαδή, αλλά για την χρήση των κινητών, της τηλεόρασης ή των γυαλιών της Αμερικάνικης εταιρείας.

