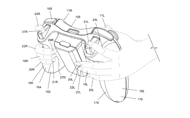
Η Microsoft καταχώρησε μία πρωτότυπη πατέντα, σύμφωνα με την οποία τα χειριστήρια της κονσόλας Xbox θα μπορούν να αναγνωρίσουν τον κάθε παίκτη ανάλογα με την πίεση που ασκεί στα κουμπιά και τους μοχλούς.
Τα απαραίτητα δεδομένα του κάθε παίκτη, συμπεριλαμβανομένων των στατιστικών και του ονόματος, θα αποθηκεύονται στη μνήμη του χειριστηρίου και έτσι η κονσόλα θα αναγνωρίζει τον παίκτη αμέσως μόλις ο τελευταίος πιάσει στα χέρια του το controller.
Ακόμη δεν υπάρχει κάποια επίσημη ανακοίνωση από τη Microsoft, αλλά πλησιάζει η έκθεση E3, όπου θα μάθουμε και περισσότερα για το περίεργο αυτό χειριστήριο.
