
Όχι πολύ παλιά, η μόνη δυνατότητα να πληροφορηθούμε κάτι για τα «μυστικά» νέα μοντέλα των εταιρειών ήταν οι περίφημες «κατασκοπευτικές» φωτογραφίες. Τελευταία όμως, με την ελεύθερη δημοσίευση στο ίντερνετ των αρχείων που τηρούν οι διάφορες υπηρεσίες σχετικά με τις ευρεσιτεχνίες (πατέντες) των εταιρειών, μπορούμε να μαντέψουμε πολλά για τα νέα μοντέλα, μελετώντας αυτά τα αρχεία.
Είναι σαν να κοιτάζει κανείς απευθείας μέσα στα Τμήματα Έρευνας και Εξέλιξης των κατασκευαστών, ή τουλάχιστον σε κάποια από τα λιγότερο «υπόγεια» γραφεία τους.
Οι εταιρείες υποβάλλουν διαρκώς αιτήσεις ευρεσιτεχνιών, όμως παρότι αυτό τους κοστίζει σε χρόνο και χρήμα, λίγες από τις πατέντες περνούν τελικά στην παραγωγή…. Πολλές τους δεν ξεφεύγουν ποτέ από τα συρτάρια των αρχείων, εξαιτίας τεχνικών ή νομικών κωλυμάτων, συνήθως όμως διότι απλά το τελικό κόστος εφαρμογής τους δεν είναι συμβατό με τις δυνατότητες της αγοράς.
Τι σημαίνει ευρεσιτεχνία; Σύμφωνα με την Βικιπαίδεια «η ευρεσιτεχνία (πατέντα, αγγλ. patent, γερμ. Patent, γαλλ. brevet) είναι ένα αποκλειστικό δικαίωμα χρήσης που δίνεται για κάποιο διάστημα στον εφευρέτη (φυσικό ή νομικό πρόσωπο) μιας νέας μεθόδου, ουσίας ή μηχανισμού».
Είναι μία μέθοδος για την νομική κατοχύρωση της ιδιοκτησίας ή του δικαιώματος αποκλειστικής χρήσης μιας τεχνολογίας, ενός νεωτερισμού, ή μίας μεθόδου. Ιδιώτες αλλά και εταιρείες ζητούν την κατοχύρωση των ευρεσιτεχνιών τους, ώστε να αποκομίσουν οικονομικά ή άλλα οφέλη από τη χρήση τους. Έπειτα έχουν το δικαίωμα να χρησιμοποιήσουν τις «πατέντες» τους στα δικά τους προϊόντα, ή να τις διαθέσουν με οποιονδήποτε τρόπο και αντάλλαγμα, σε κάποιον τρίτο.
Οι μεγάλοι κατασκευαστές υποβάλλουν διαρκώς αιτήσεις για κατοχυρώσεις ευρεσιτεχνιών. Διατηρούν μεγάλα Τμήματα Έρευνας και Εξέλιξης και η κατοχύρωση είναι το μόνο μέσο εξασφάλισης του έργου τους. Δεν είναι δε απαραίτητο να προορίζεται η καταχαρούμενη πατέντα για άμεση εφαρμογή στην παραγωγή της εταιρείας. Η χρήση της μπορεί να προκύψει στο μέλλον, ενώ μπορεί να έχει αξία για το προϊόν κάποιου άλλου κατασκευαστή. Η ευρεσιτεχνία λοιπόν δεν είναι αυτοσκοπός, είναι και ένα εμπορεύσιμο αγαθό.
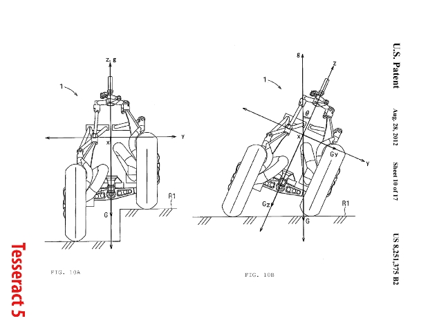
Σήμερα θα δούμε τι έχει στα σκαριά η Yamaha. Η πρώτη ευρεσιτεχνία που βλέπουμε είναι αναγνωρίσιμη όχι μόνο γιατί πρωταγωνίστησε στα Σαλόνια Μοτοσυκλέτας του 2007, αλλά και γιατί κάτι παρόμοιο έχουμε όλοι πλέον δει και στον δρόμο. Η τετράτροχη μοτοσυκλέτα Tesseract χρησιμοποιεί ένα σύστημα παρόμοιο με το Piaggio MP3, το οποίο τής δίνει τη δυνατότητα να γέρνει «κανονικά» στις στροφές. Και λέγοντας «κανονικά», εννοούμε σαν μοτοσυκλέτα, προς το εσωτερικό της στροφής, όχι ανάποδα σαν τα αυτοκίνητα ή τα τρίτροχα τύπου Spyder της Can Am…


Οι πιθανότητες να δούμε στην παραγωγή το Tesseract είναι μικρές, λόγω του υψηλού κόστους. Ωστόσο η Yamaha προχώρησε στην κατοχύρωση της σχετικής ευρεσιτεχνίας για το σύστημα κλίσης, στο οποίο μάλιστα περιλαμβάνεται και ένας μηχανισμός ελέγχου και περιορισμού αυτής της κλίσης.
Άλλη πατέντα της Yamaha αφορά σε έναν νέο τρόπο κατασκευής των εμβόλων για τους κινητήρες της. Κατ’ αυτόν, στο πρώτο στάδιο του ακατέργαστου κράματος που θα καταλήξει να γίνει πιστόνι, η Yamaha υποβάλλει τη μεταλλική ράβδο σε στρεπτικές δυνάμεις, με τρόπο παρόμοιο που στύβουμε με τα χέρια μας ένα βρεγμένο πανί. Έτσι δημιουργείται μια σπειροειδής δομή στο μέταλλο η οποία, βρήκαν οι μηχανικοί της Iwata, του προσδίδει αυξημένη αντοχή, ειδικά απέναντι στη διαστολή και τις δυνάμεις που αναπτύσσονται στη φάση της συμπίεσης, πάνω στην κορώνα του εμβόλου.
Αυτό σημαίνει τελικά ότι για την ίδια αντοχή ενός εμβόλου μπορεί να χρησιμοποιηθεί λιγότερο υλικό, με όφελος από τη μείωση του βάρους. Είναι ενδιαφέρον πάντως, ότι στην εποχή των ηλεκτρονικών, η μεταλλουργία συνεχίζει να παίζει έναν βασικό ρόλο στη σχεδίαση και απόδοση των κινητήρων.


Μια 3η ευρεσιτεχνία αφορά ένα «σύστημα μεταβλητών βαλβίδων για κινητήρες». Είτε το καταλαβαίνει κανείς από τον τίτλο είτε όχι, αφορά σε ένα σύστημα που παρεμβαίνει ανάμεσα στον κλασικό εκκεντροφόρο και τις βαλβίδες, μεταβάλλοντας τη βύθιση και το χρονισμό τους, δηλαδή το πόσο χρόνο μένουν ανοιχτές.
Με το σύστημα αυτό οι εκκεντροφόροι δεν έρχονται πλέον απευθείας σε επαφή με τις βαλβίδες, αφού ανάμεσά τους παρεμβαίνουν κάποια μεταλλικά στοιχεία σαν «πέδιλα». Τα πέδιλα έχουν ένα πολύ ιδιαίτερο προφίλ και φέρονται από έναν ενδιάμεσο άξονα κάτω από τον εκκεντροφόρο. Αυτός ο άξονα ελέγχεται από την ηλεκτρονική μονάδα του κινητήρα (ECU), περιστρεφόμενος ανάλογα ώστε, μέσω του ιδιαίτερου προφίλ των πεδίλων, να μεταβάλλει βύθισμα και χρονισμό της βαλβίδας.
Συνήθως σε τέτοια συστήματα υπάρχει και ένας ηλεκτροκινητήρας που κινεί τον βοηθητικό άξονα. Στο σχήμα της Yamaha δεν φαίνεται κάτι τέτοιο και ίσως οι μηχανικοί της εταιρείας να βρήκαν έναν πιο κομψό τρόπο κίνησης, που -το σημαντικότερο- δεν καταλαμβάνει πολύν χώρο μέσα στο καπάκι της κεφαλής, γιατί αυτό θα σήμαινε αύξηση του ύψους του κινητήρα.

Το πλεονέκτημα του συστήματος της Yamaha έναντι για παράδειγμα του VTEC, είναι ότι χρονισμός και βύθισμα των βαλβίδων μεταβάλλονται από το ρελαντί και ως το κόκκινο, ενώ στο VTEC της Honda μεταβάλλεται μόνο η βύθιση των βαλβίδων (όχι η διάρκεια ανοίγματος) και μόνον μετά τις 6.000 σαλ. Το VTEC από την άλλη είναι απλούστερο και λειτουργεί πολύ έξυπνα μόνον με υδραυλική πίεση, χωρίς τη χρήση ηλεκτρομοτέρ.
Τα συστήματα μεταβλητού χρονισμού όπως αυτό της Yamaha πιστεύεται ότι εξυπηρετούν καλύτερα τους πολύστροφους κινητήρες των μοτοσυκλετών και επίσης ότι προσφέρουν πολύ καλύτερη διαχείριση καυσίμου. Στο άμεσο μέλλον η χρήση τους θα γενικευθεί, διότι αποτελεί τον ευκολότερο και φθηνότερο, στην παρούσα φάση, τρόπο μείωσης της κατανάλωσης των κινητήρων εσωτερικής καύσης.
