Είναι κάτι τόσο αδιανόητο που κανείς δεν θα πίστευε αν δεν υπήρχε το δίπλωμα ευρεσιτεχνίας που το κατοχύρωνε εμπορικά.
Ήταν το 1965 λοιπόν όταν ένα παντρεμένο ζευγάρι που ζούσε στη Νέα Υόρκη, οι George και Charlotte Blonsky συγκεκριμένα, αποσπούσαν την πατέντα με νούμερο 3216423 για την καινοτόμα συσκευή τους.
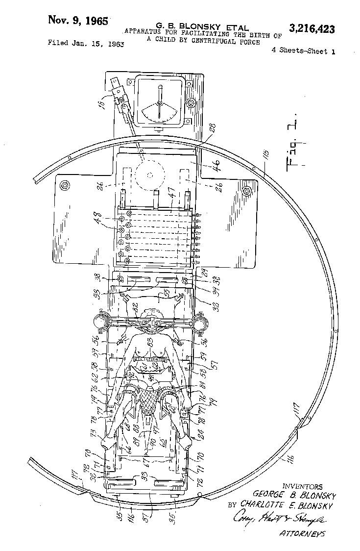
Μια «Συσκευή για τη διευκόλυνση της γέννας ενός παιδιού με τη φυγόκεντρη δύναμη», όπως ήταν ο επίσημος τίτλος.

Όταν λοιπόν η ετοιμόγεννη πλησίαζε στη μεγάλη στιγμή, θα ξάπλωνε με την πλάτη σε αυτό το κυκλικό τραπέζι. Όπου και θα την έδεναν, καθώς το τραπέζι θα περιστρεφόταν κατόπιν με μεγάλη ταχύτητα. Κάνοντας έτσι το έμβρυο να πεταχτεί έξω, δημιουργώντας «μια απαλή, ομοιόμορφα κατανεμημένη, κατάλληλα κατευθυνόμενη και με ακρίβεια ελεγχόμενη δύναμη».
Παρά το γεγονός ότι η συσκευή σκαρώθηκε με μέριμνα και αγάπη, προσέχοντας να προστατευτούν τόσο η μητέρα όσο και το παιδί, δεν έμελλε να έχει εμπορική απήχηση.
Ήταν πιθανότατα μόνο οι Blonsky αυτοί που είδαν την ανάγκη για μια τέτοια μέθοδο γέννας. Και ίσως τρόμαξε ο κόσμος από αυτό το μικρό διχτάκι που θα έπιανε υποτίθεται το έμβρυο μόλις εκτοξευόταν από τη μήτρα!

Οι Blonsky δεν είχαν δικά τους παιδιά, λάτρευαν όμως τα παιδιά. Η ιδέα τούς ήρθε μια μέρα που πήγαν βόλτα στον ζωολογικό κήπο του Μπρονξ και είδαν ένα ελεφαντάκι να περιστρέφεται παιχνιδιάρικα. Ρωτώντας τον φύλακα, αυτός τους είπε (λανθασμένα) πως έτσι κάνουν οι ελέφαντες πριν γεννήσουν.
Το ζευγάρι βραβεύτηκε ωστόσο το 1999, αν και μεταθανάτια, για την εφεύρεσή του με Ig Nobel Prize, τη γνωστή παρωδία των Νόμπελ που αποδίδεται κάθε χρόνο σε 10 ασυνήθιστα ή ολότελα ασήμαντα επιτεύγματα τεχνολογίας και επιστήμης…