Πληθαίνουν πάλι τα σενάρια σχετικά με το V4 Superbike της Honda που θα βασίζεται στην RC213V, ή ή πιθανότερα στην RCV1000R.
Βέβαια η σχετική είδηση κυκλοφορεί από τότε που επανεμφανίστηκαν οι τετράχρονες μοτοσυκλέτες GP, δηλαδή από το 2002, αποτελώντας τον ευσεβή πόθο έγκριτων δημοσιογράφων και απλών μοτοσυκλετιστών.
Όμως και η ίδια η Honda έχει παίξει το παιχνίδι, τροφοδοτώντας την προσμονή και με την παρουσίαση του Concept V4 στην Κολωνία, το 2008.
Η προοπτική του νέου Superbike σοβάρεψε το Σεπτέμβριο του 2012, όταν ο CEO της Honda, εντιμότατος Takanobu Ito, ανακοίνωσε την έλευσή του, προσδιορίζοντάς την στο 2014.
Ο Ito μίλησε για ένα supersport δρόμου βασισμένο στην RC213V (δηλαδή με 1000 κυβικά) που θα χαρακτηρίζεται από υψηλή τεχνολογία, περιορισμένη παραγωγή και πολύ υψηλή τιμή, ακούγεται κάτι για πολλές δεκάδες χιλιάδες ευρώ. Επιπλέον ξεκαθάρισε πως η έλευση του αβανγκάρντ μοντέλου δεν σήμαινε σε καμία περίπτωση την αντικατάσταση του CBR1000RR.
Και νά ‘μαστε λοιπόν στο 2014, όπου το ισπανικό περιοδικό SoloMoto.es «ανακάλυψε» κάποια ντοκουμέντα που πιθανότατα αφορούν το νέο αυτό μοντέλο. Πρόκειται για έγγραφα που είχε υποβάλλει η Honda στις ευρωπαϊκές υπηρεσίες το Μάρτιο του 2012, προκειμένου να πάρει τις απαραίτητες εγκρίσεις. Έξι μήνες πριν παραδεχτεί ο Ito την ύπαρξη του νέου μοντέλου.

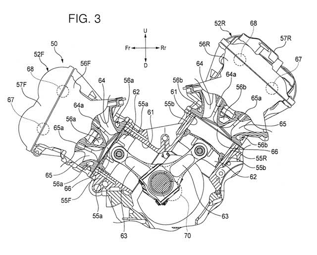
Στα σχήματα βλέπουμε καταρχήν ότι η σχεδίαση του φέρινγκ παραπέμπει στο Fireblade, όμως ο κινητήρας θυμίζει τις τεχνικές επιλογές των GP. Προσέξτε για παράδειγμα τη θέση της αντλίας νερού, ψηλά δίπλα στην κεφαλή του εμπρός ζεύγους κυλίνδρων, όπου παίρνει κίνηση από τον έναν εκκεντροφόρο.
Η κατανομή μαζών και η γεωμετρία, αναφέρει το SoloMoto, αντιγράφει τις βασικές επιλογές για τη μοτοσυκλέτα GP, με δεδομένη δε την αλλαγή των κανονισμών, ο V4 θα είναι μάλλον πιο κοντά στην RCV1000R Open παρά προφανώς στο θηρίο που οδηγούν οι Pedrosa και Marquez. Γι’ αυτό και δεν θα εκπλαγούμε αν κάπως έτσι είναι και το όνομα του μοντέλου παραγωγής.
Παράλληλα όμως η νέα V4 θα μπορεί να παίξει και στο WSBK. Γιατί η νέα υποκατηγορία EVO θα συνυπάρχει μεν φέτος με την προϋπάρχουσα γνωστή Superbike, αλλά από του χρόνου θα είναι μόνη της.
Οι κατασκευαστές θα πρέπει να παρουσιάσουν μοτοσυκλέτες που θα πληρούν τις δικές της προδιαγραφές. Ίσως λοιπόν η Honda προσπαθήσει να χτυπήσει με ένα «σμπάρο δυο τρυγόνια». Το πιθανότερο δε είναι πως σε αυτές τις συχνές τα τελευταία 2 χρόνια αλλαγές κανονισμών οφείλεται και η καθυστέρηση της παρουσίασής της.

Ο κινητήρας θα έχει σίγουρα 1.000 κυβικά και προφανώς η περιεχόμενη γωνία του θα είναι 90ο, δηλαδή θα είναι ένας L-90. Οι κινητήρες αυτοί συνήθως πιάνουν πολύ χώρο, δυσκολεύοντας την εύρεση της βέλτιστης θέσης στο πλαίσιο.
Όμως η εμπειρία της Honda από τα MotoGP οδήγησε στην κατασκευή πολύ κοντών κυλινδροκεφαλών και μιας βαθιάς μπανιέρας λαδιού κάτω από το κάρτερ. Έτσι μακρόστενος ο L4 της Honda βρήκε άνετα τη θέση που έπρεπε στην RCV, όταν κατά φήμες, ο αντίστοιχος της Ducati ήταν με τον όγκο του λιγότερο βολικός, προκαλώντας εν μέρει τα προβλήματα συμπεριφοράς της Desmosedici. Αυτά στο παρελθόν, γιατί η GP14 δείχνει να έχει βρει το δρόμο της.
Η κυλινδροκεφαλή του μπροστινού ζεύγους κυλίνδρων είναι γυρισμένη προς τα πάνω, σχεδόν στις 45ο από την κάθετο, όπως και σε πολλές από τις σύγχρονες Ducati δρόμου.
Η απόδοση του V4 αναμένεται να ξεπερνά καθαρά τους 200 ίππους και αναμένεται ότι θα πιστοποιηθεί άμεσα και για το παγκόσμιο Superbike. Αυτό διευκολύνεται μάλιστα, καθώς από εφέτος έχει μειωθεί στο μισό ο αριθμός των αντιτύπων που πρέπει να κατασκευαστούν, προκειμένου να βγει η ομολογκασιόν.
Η αναμονή μέχρι τις φετινές εκθέσεις αναμένεται να κορυφωθεί το φθινόπωρο. Νέο Superbike V4 παραγωγής με ρίζες στα MotoGP και ομολογκασιόν για το παγκόσμιο Superbike. Τι άλλο να ζητήσει κανείς;





