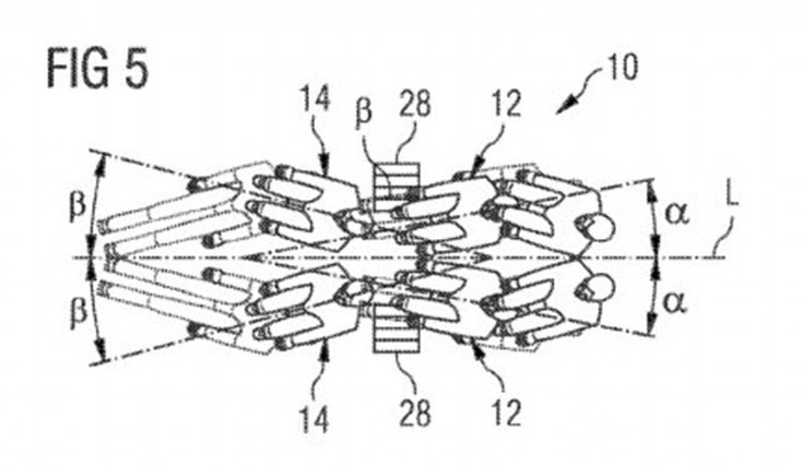
Ριζοσπαστικό σχεδιασμό των θέσεων των επιβατών, σε παράλληλα επίπεδα, προτείνουν οι σχεδιαστές μιας από τις μεγαλύτερες εταιρείες αεροναυπηγικής, με αποτέλεσμα κατά κάποιον τρόπο να υπάρχουν επιβάτες που θα κάθονται πάνω από άλλους.
Η πρόταση των σχεδιαστών της Airbus μπορεί να χρησιμοποιηθεί στις θέσεις business class με τις σειρές στη μεσαία γραμμή των θέσεων να πηγαίνουν εναλλάξ στο επίπεδο των υπόλοιπων θέσεων και σε επίπεδο αρκετά υψηλότερο.
Κάθε θέση θα έχει ανάκλιση και οι θέσεις του κανονικού επιπέδου θα διαθέτουν σκαλιά στο πλάι ώστε να ανεβαίνουν οι επιβάτες των ψηλότερων θέσεων.
Το σχέδιο ανήκει στη σχεδιαστική ομάδα της Airbus στο Αμβούργο της Γερμανίας και η πατέντα του κατοχυρώθηκε, παρότι μπορεί ποτέ να μην υλοποιηθεί.
Η Airbus επιμένει πως η πρώτη θέση θα διατηρήσει «υψηλό επίπεδο άνεσης» παρά το καινοτόμο σχέδιο, και πως θα υπάρχει επαρκής χώρος για τους επιβάτες και των δύο επιπέδων.
«Η Airbus κατοχυρώνει περίπου 600 πατέντες κάθε χρόνο με σκοπό να προστατεύει την πνευματική της ιδιοκτησία», τόνισε εκπρόσωπος της εταιρείας, «αυτό δεν σημαίνει πως όλες οι πατέντες υιοθετούνται σε αεροσκάφος».








